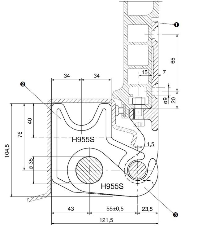
Hák centrálního zavírání

280,56  bez DPH

339,48  s DPH

📦 Dodání obvykle do 4 týdnů.
🕒 Aktualizováno: 12.12.2025 14:27
Katalogové číslo: 132991 Kategorie: , ,
Popis

D35, R11,5, Rapid H955

Měrná jednotka: ks

Hmotnost: 0.344 kg